7882IRD Series
Professional DVBS/S/S2X MPEG–2/H.264 SD/HD Integrated Receiver Decoders
Professional Digital Terrestrial/Cable/Satellite SD/HD Dual Modular Integrated Receiver Decoders
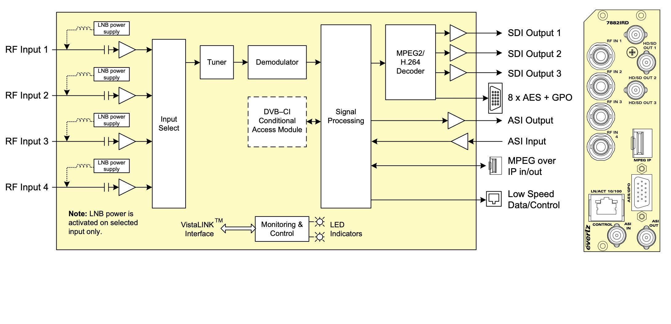
The 7882IRD Series is the basis of a professional platform for receiving, demodulating and decoding digital DVB–S/S2/S2X satellite signals. With a compact, modular form–factor the 7882IRD represents one of the highest density and most flexible solutions in the industry. The 7882IRD–S2X may be mounted in the Evertz 7800 series of enclosures, providing a high–density, modular solution. Options for an innovative removable front control panel and 1RU chassis also allow the IRD to be packaged in the traditional IRD form factor, while maintaining all of the benefits of modularity. Applications include signal reception for broadcasters, cable, DTH and IPTV providers, or any other small to large head–end operators who need to receive and utilize or re–distribute satellite content. The 7882IRD series provides ASI and IP outputs, ideal for turnaround, transcoding, monitoring or other applications where the received signal remains in the compressed domain. For baseband output, the 7882IRD2 utilizes an advanced decoder with support for both MPEG–2 and H.264/AVC, SD or HD encoded signals, optionally up to 4:2:2 10–bit. In addition to a quad–RF input, the 7882IRD also provides inputs for IP and ASI signals, making it a future–proof, universal reception platform for signals delivered over satellite, fiber and other network media. Monitoring parameters such as EsNo ratio, RF power, BER and packet errors present a convenient solution for broadcasters and cable companies who wish to not only receive, but also remotely monitor signal quality. Also, these parameters as well as Full monitoring and control of the IRD are relayed over SNMP, for convenient remote access using Evertz own VistaLINK® PRO SNMP monitoring and control package. Additionally, low–speed data support is provided for in–band control. For applications requiring decryption, the IRD provides a slot for installation of a customer supplied conditional access module. DVB–CI compliant conditional access modules and formats are supported.
Features & Benefits

Professional Digital Terrestrial/Cable/Satellite SD/HD Dual Modular Integrated Receiver Decoders
The 7882IRD Series is the basis of a professional platform for receiving, demodulating and decoding digital DVB–S/S2/S2X satellite signals. With a compact, modular form–factor the 7882IRD represents one of the highest density and most flexible solutions in the industry. The 7882IRD–S2X may be mounted in the Evertz 7800 series of enclosures, providing a high–density, modular solution. Options for an innovative removable front control panel and 1RU chassis also allow the IRD to be packaged in the traditional IRD form factor, while maintaining all of the benefits of modularity. Applications include signal reception for broadcasters, cable, DTH and IPTV providers, or any other small to large head–end operators who need to receive and utilize or re–distribute satellite content. The 7882IRD series provides ASI and IP outputs, ideal for turnaround, transcoding, monitoring or other applications where the received signal remains in the compressed domain. For baseband output, the 7882IRD2 utilizes an advanced decoder with support for both MPEG–2 and H.264/AVC, SD or HD encoded signals, optionally up to 4:2:2 10–bit. In addition to a quad–RF input, the 7882IRD also provides inputs for IP and ASI signals, making it a future–proof, universal reception platform for signals delivered over satellite, fiber and other network media. Monitoring parameters such as EsNo ratio, RF power, BER and packet errors present a convenient solution for broadcasters and cable companies who wish to not only receive, but also remotely monitor signal quality. Also, these parameters as well as Full monitoring and control of the IRD are relayed over SNMP, for convenient remote access using Evertz own VistaLINK® PRO SNMP monitoring and control package. Additionally, low–speed data support is provided for in–band control. For applications requiring decryption, the IRD provides a slot for installation of a customer supplied conditional access module. DVB–CI compliant conditional access modules and formats are supported.
Features & Benefits

㈜피아이인터내셔널 ㅣ 대표이사 노일식
사업자 등록번호 220-81-45217 사업자정보확인 >
주소 ㅣ 06254 , 서울특별시 강남구 도곡로 123 대경빌딩 4층
Tel. 02-508-3871 ㅣ Fax. 02-508-3874
123, Dogok-ro, Gangnam-gu, Seoul, Republic of Korea
E-mail pi@piinternational.co.kr
㈜피아이인터내셔널 ㅣ 대표이사 노일식 ㅣ 사업자 등록번호 220-81-45217 사업자정보확인 >
주소 06254 , 서울특별시 강남구 도곡로 123 대경빌딩 4층ㅣ Tel. 02-508-3871 ㅣ Fax. 02-508-3874
123, Dogok-ro, Gangnam-gu, Seoul, Republic of Korea